Imtaqqba Bar Stock Thermowell
Imtaqqba Bar Stock Thermowell jintuża prinċipalment għal thermocouple. Juża bar sħiħ biex iħaffer, il-ħxuna tal-ħajt, il-forma tista 'mmanifatturat skond il-ħtieġa.
Introduzzjoni tal-Prodotti
Il-prodotti huma meħtieġa użati fil-progress ta ' l-installazzjoni ta ' l-istrument għall-kontroll tat-temperatura industrijali, li huwa applikabbli biex jinstallaw komponenti ta ' kejl tat-temperatura fil-pajpijiet jew apparati, prinċipalment użati għall-apparati, bħal: koppji termoelettriċi, koppja termoelettrika armati ta ' reżistenza termali, doppju -termografu tal-metall, koppji termoelettriċi tal-wiċċ, termografu tal-pressjoni u l-bqija. Hemm ħafna tipi ta 'metodi ta' installazzjoni, pereżempju, permezz ta 'ħjut, immuntar permezz ta' konnetturi, daħħal ta 'kmiem protettiv. Hemm ħafna vantaġġi tal-prodotti kif ġej: daqs żgħir, installazzjoni kompatta, manutenzjoni konvenjenti, applikabbli għal oqsma korrużivi jew mhux korrużivi.
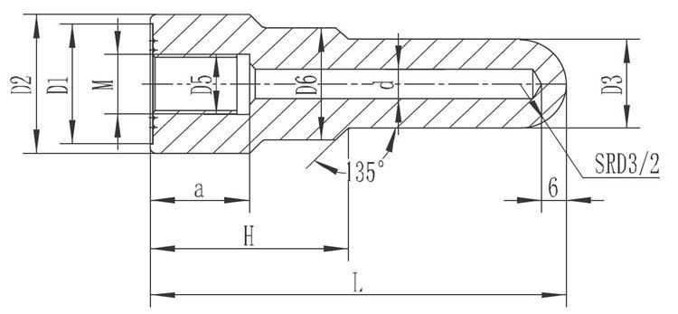
Tpinġija tat-tip
Tip ta' sellum

Tip dritta

Tip taper

Materjali għal Agħżel
1. 1Cr18Ni9Ti: azzar reżistenti għall-korrużjoni b'temperatura għolja, reżistenti għas-sħana użat komunement bħala ġenerali.
2. 304: kontenut baxx ta 'karbonju, b'reżistenza tajba għall-korrużjoni intergranulari, ġeneralment użat bħala azzar ġenerali reżistenti għas-sħana.
3. 316: kontenut baxx ta 'karbonju, b'reżistenza tajba għall-korrużjoni intergranulari, jintuża bħala azzar reżistenti għall-korrużjoni.
4. 316L: kontenut ta 'karbonju ultra-baxx, b'reżistenza tajba għall-korrużjoni intergranulari, jintuża bħala azzar reżistenti għall-korrużjoni.
5. Monel: liga tan-nikil-ram b'reżistenza tajba għall-korrużjoni, adattata għal aċidu sulfuriku korrużiv ħafna u okkażjonijiet oħra.
6. Hastelloy: b'reżistenza tajba għall-korrużjoni, jintuża bħala azzar reżistenti għall-korrużjoni.
7. 310S: reżistenza għall-ossidazzjoni f'temperatura għolja, reżistenza għall-korrużjoni, ħafna drabi użata bħala azzar reżistenti għas-sħana.
8. GH3030: liga bbażata fuq in-nikil b'temperatura għolja b'reżistenza eċċellenti għall-ossidazzjoni, reżistenza għall-korrużjoni, spiss użata bħala azzar reżistenti għas-sħana.
9. GH3039: liga bbażata fuq in-nikil b'temperatura għolja b'reżistenza eċċellenti għall-ossidazzjoni, reżistenza għall-korrużjoni, spiss użata bħala azzar reżistenti għas-sħana.
10. Aluminju għoli: tubu taċ-ċeramika industrijali li għandu reżistenza eċċellenti għall-ossidazzjoni, reżistenza għall-korrużjoni.
11. 3YC52: liga ta 'temperatura għolja b'reżistenza għall-ossidazzjoni eċċellenti, reżistenza għall-korrużjoni, proprjetajiet mekkaniċi tajbin, adattati għal post ta' temperatura għolja.
12. Molybdenum disilicide: b'reżistenza għall-ossidazzjoni eċċellenti, reżistenza għall-korrużjoni, proprjetajiet mekkaniċi tajbin, adattati għal post ta 'temperatura għolja.
Prodotti View



Profil tal-Kumpanija
Wara snin ta 'riċerka u żvilupp indipendenti, Haichen issa jippossjedi kapaċità ta' produzzjoni qawwija, skala ta 'produzzjoni akbar, tagħmir ta' ttestjar avvanzat, tim tekniku professjonali.
Il-kumpanija tagħna dejjem kienet taderixxi mal-politika tan-negozju ta '"kwalità hija l-ħajja ta' l-intrapriża, l-utent huwa Alla tagħna", stretta għall-kwalità tal-prodott, u tipprovdi lill-utenti disinn ta 'kwalità għolja, manifattura, installazzjoni, debugging u l-ogħla grad. servizz għal sensuri tat-temperatura. Wara għexieren ta 'snin ta' sforzi kontinwi u innovazzjoni, il-klijenti tagħna huma madwar il-pajjiż f'qasam differenti, u aktar aħna esportajna wkoll lejn l-Ewropa, il-Lvant Nofsani, u s-swieq tal-Asja tax-Xlokk.

01
Kontroll strett tal-Kwalità
Għal kull ordni, id-dipartiment tal-kontroll tal-kwalità se jwettaq spezzjonijiet stretti qabel il-ġarr biex jipprevjeni d-degradazzjoni tal-kwalità.
02
Esperjenza Rikka
Għandna aktar minn 20 sena ta 'esperjenza f'dan il-qasam, li nistgħu nħarsu minn qabel kwistjonijiet b'ordnijiet u prodotti. Għalhekk, se tiżgura li r-riskju ta 'sitwazzjonijiet ħżiena jitnaqqas.
03
Disinn
Aħna se nirrakkomandaw l-aktar prodotti adattati għall-klijenti skond tpinġijiet, rekwiżiti tat-temperatura u sit ta 'installazzjoni.
04
Servizz minn punt għal punt
Mill-konsultazzjoni sal-kunsinna tal-prodott, hemm persunal tal-bejgħ biex iservik. Matul dan il-proċess, għandek bżonn biss tiddiskuti l-kwistjonijiet kollha magħha, li tista 'tiffranka ħafna ħin.
Workshop

Maħżen

Ċertifikazzjoni

ċertifikat tas-sistema ta 'ġestjoni tal-kwalità ISO9001:2015

Ċertifikat kontra l-isplużjoni għat-trasmettitur tat-temperatura

Ċertifikat kontra l-isplużjoni għas-sensorju tat-termokoppja

Ċertifikat kontra l-isplużjoni għal Sensor RTD

Ċertifikat tas-sigurtà funzjonali SIL għas-sensorju tat-temperatura
Pakketti għal prodotti differenti
Ippakkjar wieħed għal kull prodott (bir-ras)
Pakkett wieħed għal prodott żgħir (mingħajr ras)
Kartuna standard ta 'esportazzjoni
Dettalji tal-Kunsinna

Nistgħu nagħżlu l-kunsinna bl-Express (DHL/FedEx/TNT/ARAMEX), bl-Ajru, bil-Baħar; jew skond il-ħtieġa tal-klijent;
Prodotti bil-ħażna, bħal konnettur, materjal komuni għal thermocouple, konsenja fi 1-2 ġranet tax-xogħol;
Prodotti personalizzati, skond il-materjal u l-kwantità, kunsinna f'7 ~ 60 jum tax-xogħol.
għandek xi mistoqsija?

Fejn huma s-swieq ewlenin għall-bejgħ?
Iċ-Ċina kontinentali, it-Tajlandja, l-Istati Uniti, ir-Russja, il-Vjetnam, Singapor, il-Malasja, l-Awstralja, il-Mjanmar, il-Pakistan, il-Baħrejn eċċ.
X'inhi l-kwantità minima tal-ordni tiegħek?
M'hemm l-ebda kwantità minima, tista 'tixtri kwalunkwe kwantità. Madankollu, ftit fin-numru, il-prezz unitarju se jkun ftit ogħla.
X'inhu t-terminu tal-prezz?
Normalment nikkwotaw minn EX-WORKS, jekk teħtieġ l-ispiża tal-merkanzija, jekk jogħġbok informa l-kwantità u l-indirizz bil-quddiem.
Jekk kwantità u volum kbar, nistgħu nikkwotaw bil-prezz FOB.
Liema ħlas għandek?
Għandna Trade Assurance (mħallsa minn Alibaba), Payoneer, TT, West Union u l-bqija.
Ejjew fil-fabbrika tagħna biex ikollna żjara
Ikkuntattjana bl-email, Skype, WhatsApp
L-indirizz tagħna
No.11 Gusheng Road, Caojie Street, Hechuan District, Chongqing City, PR Ċina
Numru tat-Telefon
+86 13618338992
Posta elettronika
sales@hcsensor.com

It-tags Popolari: mtaqqba bar stokk thermowell, Ċina mtaqqba bar stokk thermowell fornituri, fabbrika

